【客户案例】某大型保险:CMDB 纳管之后,如何管住存量盘活增量数据?

官网原文(免费申请演示):【客户案例】某大型保险:CMDB纳管之后,如何管住存量盘活增量数据?
摘要:当企业落地 CMDB 配置管理工具之后,并将相关的实例数据纳管到平台上,这只是完成了CMDB建设的第一步,第二步就是思考如何消费数据,并让数据产生价值。这个过程中有一个问题需要管理者思考:当前这些数据怎么去消费,它的数据质量如何保证,如何成为唯一的数据源供外部调用?此时,数据治理就显得尤为重要了。
关键词:CMDB,数据治理,数据安全
01 为什么要做数据治理
可信度和准确性:帮助组织确保数据准确性和完整性,一致性和及时性,通过制定数据质量标准和审计规则,以及监控和修复数据质量问题。
合规性和安全性:确保组织在数据治理和使用方面符合行业标准要求,通过制定数据隐私和安全制度,以及数据访问和使用权限,降低数据泄露和违规操作。
一致性和集成性:确保组织在不同系统和部门之间的数据具有一致性和集成性,通过数据交互标准和规范,建立数据集成和共享机制,避免数据冗余和不一致,提高数据价值和利用效率。
可发现和可用性:帮助组织更好管理和组织数据资源,使其更容易被发现、访问和使用。通过建立数据目录和元数据管理,以及提供对应的数据查询和分析工具,促使数据驱动的决策和创新。
所有权和责任性:明确数据的所有权和责任,确保数据的合法和合理使用,通过建立数据治理结构和流程,以及制定数据治理政策和规则,可以明确数据的归属和使用权限,减少数据滥用和误用的风险。
02 优秀企业如何做数据治理
以某保险行业客户为例,看下他们是如何做这个事情的。某保险行业客户 CMDB 建设也有 3 年左右时间,底层数据收集工作基本进入中尾期,数据基数也较为客观,后续客户自己也引发了一些对 CMDB 数据治理的想法,还是颇有成效的。
1)CMDB 建设现状分析
① 建设比较全面
CMDB 板块跟随整个项目的建设,已有将近 3 年时间,建设了 2 期。一期主要聚焦在基础赋能层面,把配置管理中心功能使用起来,二期开始聚焦业务端,根据业务端的场景需要开始对 CMDB 的模型及字段信息进行整合和瘦身。截止目前为止有效模型 108 个,实例信息 28w 左右,业务数量 737,机房基础设施纳管涉及到风、火、水、电。
② 领导站台配合
当前领导也比较认可 CMDB 是平台的基石说法,一切场景建设都应该在此至上,配合 CMDB 建设方积极的去调动其他业务部门及子公司的积极性,大力配合 CMDB 的建设工作,并为此创造机会。
③ 关注数据治理
基础数据量上来之后,在关注上层业务场景建设的同时,开始关注底层的数据治理,坚持“谁的数据谁负责”思想,并在此过程中梳理 CMDB 资产领域配置信息分域矩阵表,明确模型管理主责人。
2) CMDB 数据治理思路
① 盘点当前问题
痛点:CMDB 开始建设之后,就会发现过程中会遇到海量的沟通和各类的问题抛出,随着琐碎的事情增多,过程也无法做到极致的细腻,就导致问题虽然都知道,但是一直未处理,迟迟看不到建设成效。
解决方案:结合 CMDB 现状,将比较突出的问题进行归类整理,比如按照需要领导介入推动的,数据质量不高需要审计的等各维度,通过周例会的方式往上进行汇报,让高层领导知悉当前建设的困难点以及需要的帮助,同时每周进行更新,让问题清单滚动起来,保持最新的状态。
问题清单示例如下:
② 管住增量
痛点:随着 CMDB 的地位增高,越来越多的数据会流入到 CMDB,对于增量的数据怎么管理其实影响很大,管不好,数据质量一团糟,外部不敢也无法去消费,遇到较多问题就是字段信息经常增减,相关方未告知,几个时间段录入的数据要求不一样,每隔一段时间就需要人工去核对。
解决方案:通过对接外部系统,开发采集插件及接口,提高数据的采集率,比如对接架构管理平台获取业务信息,对接华为云获取云上的相关信息,并罗列出每个月对接计划,按照对接计划完成当月里程碑;另外一方面通过与流程工单进行结合,将物理设备的上下架进行流程管控,通过层层审批和把关,确保每一条进入到 CMDB 的数据都有据可查。
对接计划示例展示:
③ 盘活存量
痛点:CMDB 中的数据存在无效字段、模型,长时间没有进行消费,并且也未进行数据更新,导致模型字段异常庞大又没有价值,模型众多却没有联动消费,维护工作量也大,给运维人员的感觉就是天天在人工修正数据,但又没有一个参考标准规范,什么时候才算修正了。
解决方案:对于已经存在的数据实例信息,如何确保准确性呢,为此采取了 2 方面的举措:一是充分借助配置管理中心审计的功能进行周期性审计,将不合规的数据进行导出然后分发给模型管理主责人进行数据修正,然后再借助运营周报,将数据质量审计情况发送内部相关方;二是开发业务场景,将底层数据抽取之后进行消费,同时与外部周边系统进行对接,通过事件订阅及接口方式进行数据同步,扩大场景的使用面积,确保数据流动起来。
存量数据治理示例:
④ 梳理业务场景
痛点:CMDB 数据有了,如何去进行消费,每年的人工费用投入之后,价值如何呈现?如何吸引业务部门将自身的业务和 CMDB 联动进行场景建设和消费,这是每一个 CMDB 管理者最头疼的问题。
解决方案:梳理业务消费场景,以及每种场景下面所消费的模型及实例字段信息,通过对比分析开始进行模型字段优化工作,将一些僵尸字段、使用频率不高的字段信息进行清理,确保每个字段存在的合理性,另外一方面定期公布各业务场景的访问量,分析当前各业务场景存在的价值。
CMDB 消费场景实例:
⑤ 建立责任矩阵
痛点:CMDB 逐步建设后,模型随之增多,每个模型需要调整和维护的场景都开始出现分化,一个管理员精力有限,无法时时满足业务部门需求,同时过程中也会产生冲突和误解,事情也会不可控,过程中需要花费大量的时间去和周边部门进行沟通。
解决方案:建立责任矩阵,每个模型责任属主进行标识,谁的数据谁负责,将数据治理以责任制的方式落到具体的人身上,确保每个模型都能按照生命周期方式进行统一管理。
CMDB 责任矩阵示例:
03 数据治理的成效
1)奠定 CMDB 源数据核心地位
纳管的资产丰富,范围广数据全,从上层业务到底层设备、机房、机柜一应俱全,不断与外部各类资产系统进行对接,获取相应的数据回写到 CMDB。当前已为告警中心、运维流程、可视化大屏、场景化应用、移动运维、资产管理等应用提供源数据,随着与外部应用关联越来越紧密,其核心地位已无法动摇。
2)依托场景化建设应用开花结果
有了丰富的原始数据后,各类依托数据进行消费的场景层出不穷,比如按管理视角及运维视角的指标类展示查询、便于护网行动的自助查询、协助告警提高处置效率的实例信息丰富、设备上下架的流程自动回写、资产管理应用的数据实时同步,防火墙策略自动下发、标准运维依托 CMDB 动态执行的批量脚本操作、数据中心资产编号按规则批量定期生成协助线下二维码覆盖工作等。
3)推动运维业务自动化快速发展
随着纳管的业务及其下的节点信息增多之后,单人管理的节点数量越大越庞大,再依托人工处理也显然不符合现状,为此自动化运维是必经之路,依托 CMDB 的基础数据实现自动化运维也是在节约用工成本,提高日常运维效率,快速发现问题并解决问题,保障数据中心的安全运营。
4)改变日常运维思维看重理性管理
日常运维就是按部就班的把事情做完,并没有过多思考当前运维中存在的问题以及如何优化能给自己带来更好的体验和效率的提升,跳出圈子来看工作平淡无亮点,一旦出现紧急异常事故处理起来手忙脚乱。改变思维方式非常重要,通过理性分析当前的问题并探讨如何解决以及后续如何规避本身就是管理的进步,再辅助场景化的应用建设更能让运维工作产生新的价值。
04 数据治理工具支撑
数据治理这项工作,人和工具的结合才能发挥做大的作用,嘉为蓝鲸配置管理中心・鲸石 (CMDB)已集成数据治理能力,遵循“自上而下,责权清晰,数据说话,闭环保障”的数据治理理念,提供开箱即用的数据治理能力,可时刻感知 CMDB 数据质量变化趋势。
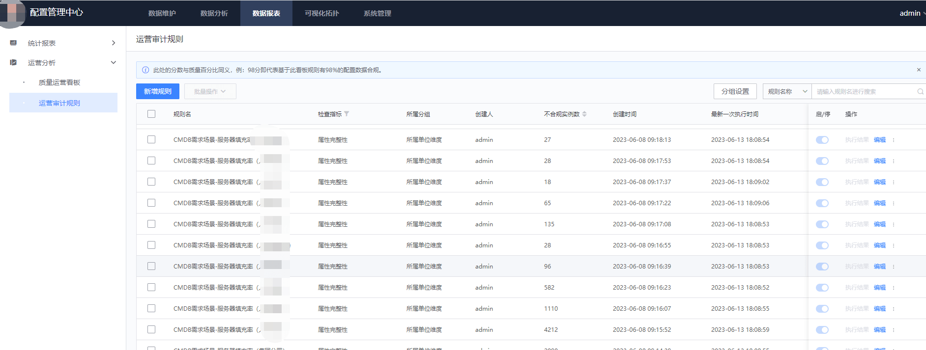
1)【运营分析-运营审计规则】
功能介绍:如何盘活存量数据,通过设置运营审计规则,对存量数据进行核查,定时筛查不合规数据并生成相应的审计结果。通过审计就能分析出无效、长期不维护的字段信息。
2)【运营分析-质量运营看板】
功能介绍:质量运营看板实时展现通过运营审计规则执行的结果,相对直观的看到各板块审计情况,便于进一步对数据进行分析和挖掘,了解底层用户数据维护行为,并为工作部署及相应策略提供数据依据。
3)【运营分析-质量运营看板-执行结果】
功能介绍:对于审计出来的结果,按照责任矩阵表“谁负责谁认领”的原则进行信息的补全修录,帮助运维人员了解需要完成的目标和内容,促进协作,便于理解和分析。







评论